हामी प्रदर्शन, सुरक्षित अपरेशन विधिहरू, र KYN28-12 मध्यम भोल्टेज स्विचगरको प्राविधिक प्यारामिटर प्रस्तुत गर्नेछौं।

Use environmental conditions
◆ एम्बियर हावा तापमान: माथिल्लो सीमा 40० डिग्री सेल्सियस तल्लो सीमा -१० डिग्री सेल्सियस:
◆Altitude: 1000m;
◆Humidity:
सापेक्ष आर्द्रता: दैनिक औसत 95%% भन्दा बढी छैन, र मासिक औसत% ०% भन्दा बढी छैन;
पानी बाफ दबाब: दैनिक औसत २.२ केपी भन्दा बढी हुँदैन, र मासिक औसत १.8 केपी भन्दा बढी हुँदैन
तापक्रम डुब्न हुँदा, फोहोर संग, र यो उत्पादन दुई वातावरणीय अवस्थाहरूको लागि उपयुक्त छ:
(१)। हल्का फोहोरको साथ धेरै कम्पनेसन (औसतमा दुई पटक भन्दा बढी होइन);
(२)। सामान्यतया गम्भीर प्रदूषणको साथ कुनै कन्डरेसन (औसतमा दुई पटक भन्दा बढी होइन);
◆ त्यहाँ कुनै आगो, विस्फोट जोखिम र गम्भीर प्रदूषण धातु र क्षति पुर्oयाउन पर्याप्त गम्भीर प्रदूषण छैन;
◆ कुनै हिंस्रक कम्पन, बम्प र 80० भन्दा बढीको ठाडो झुकाव छैन;
Note: (1) Storage and transportation are allowed at -30°C;
(२) जब उचाई १००० मिटर भन्दा बढी हुन्छ, यसलाई जेबी / २१०२ अनुसार "उच्च फोल्टेज इलेक्ट्रिकलको प्रयोगको लागि उच्च क्षेत्रहरूको लागि प्राविधिक आवश्यकताहरू उपकरणहरू "; जब उचाई २००० मिटर भन्दा बढी हुँदैन, कम दबाव सहायक उपकरणलाई कुनै उपाय लिनु पर्दैन;
()) जब प्रयोगको वास्तविक सर्तहरू माथि भन्दा फरक छन्, यो प्रयोगकर्ता र निर्माताको बीचमा वार्ता गर्नुपर्दछ।
Model and meaning
K Y N 28 - 12/ □ - □
└─Rated Breaking Short Circuit Current (KA)
└─Rated Current (A)
└─Rated voltage (KV).
└─Design serial number
└─Indoors
└─ Move the type
└─Metal armor
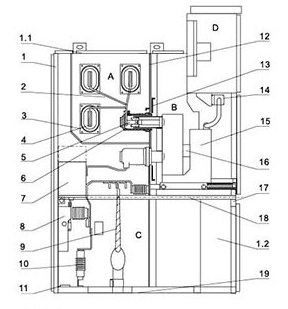
Schematic diagram of the structure of the स्विचगेर
Figure 1

A. Circuit breaker compartment B. Busbar compartment
C. Cable room D. Relay instrument room
1. Busbar 2. Static contact disc 3. Circuit breaker
4. Grounding switch 5. Current transformer
6. Capacitive voltage divider 7. Lightning arrester
Fig.2 Schematic diagram of स्विचगेर structure

1. Housing 2. Branch small busbar 3. Busbar sleeve 4. Main busbar
5. Static contact device 6. Static contact box 7. Current transformer
.8. ग्राउन्डि स्विच. केबल १० सर्ज गिरफ्तार ११. ग्राउन्डिंग मुख्य बसName
१२. विभाजन १३ लोड गर्दै विभाजन (फ्ल्याप) १४. द्धितीयक
१.१. सर्किट ब्रेकर ह्यान्डकार्ट १ 16. तातो यन्त्र १७. तेर्सो विभाजन
18. Grounding switch operating mechanism 19. Base plate
A.बुसबार कोठा बी। सर्किट ब्रेकर ह्यान्डकार्ट कोठा सी। केबल कोठा डी। रिले उपकरण कोठा
1.1. Pressure relief device 1.2. Control small trunking
Meet the standards
The product meets the following standards:
1.IEC-298
2.GB3906-1991
3.DLT404-19974. GB/T11022-1999
Primary wiring scheme
| Scheme number | 001 | 002 | 003 | 004 | 005 | |
Primary route diagram |
| |||||
| Rated current (A). | 630-4000 | |||||
One times host want electricity utensil Yuan item | Vacuum circuit breaker | 1 | 1 | 1 | 1 | 1 |
| Current transformer LZZBJ9-12 | 2 | 2 | 2 | 3 | 3 | |
| Voltage transformer RZL/REL | ||||||
| High Pressure Breaker (XRNP □) | ||||||
| Grounding Switch (EK6/JN15-12) | 1 | 1 | 1 | |||
| Surge arrester HY5WZ-17/45 | 3 | |||||
| use | Receiving power and feeding power | Receiving power and feeding power | Receiving power and feeding power | Receiving power and feeding power | Receiving power and feeding power | |
| Scheme number | 006 | 007 | 008 | 009 | 010 | |
Primary route diagram |
| |||||
| Rated current (A). | 630-4000 | |||||
One times host want electricity utensil Yuan item | Vacuum circuit breaker | 1 | 1 | 1 | 1 | 1 |
| Current transformer LZZBJ9-12 | 3 | 2 | 2 | 2 | 2 | |
| Voltage transformer RZL/REL | ||||||
| High Pressure Breaker (XRNP □) | ||||||
| Grounding Switch (EK6/JN15-12) | 1 | 1 | 1 | |||
| Surge arrester HY5WZ-17/45 | 3 | |||||
| use | Feed | Contact (right) | Contact (right) | Contact (left) | Contact (left) | |
| Scheme number | 011 | 012 | 013 | 014 | 015 | |
Primary route diagram |
| |||||
| Rated current (A). | 630-4000 | |||||
One times host want electricity utensil Yuan item | Vacuum circuit breaker | 1 | 1 | 1 | 1 | 1 |
| Current transformer LZZBJ9-12 | 3 | 3 | 2 | 2 | 2 | |
| Voltage transformer RZL/REL | ||||||
| High Pressure Breaker (XRNP □) | ||||||
| Grounding Switch (EK6/JN15-12) | 1 | 1 | 1 | |||
| Surge arrester HY5WZ-17/45 | 3 | |||||
| use | Overhead Line (Right Contact) | Overhead Line (Right Contact) | Overhead entry and exit lines | Overhead entry and exit lines | Overhead entry and exit lines | |
| Scheme number | 016 | 017 | 018 | 019 | 020 | |
Primary route diagram |
| |||||
| Rated current (A). | 630-4000 | |||||
One times host want electricity utensil Yuan item | Vacuum circuit breaker | |||||
| Current transformer LZZBJ9-12 | ||||||
| Voltage transformer RZL/REL | /3 | 2/ | /3 | 2/ | /2 | |
| High Pressure Breaker (XRNP □) | 3 | 3 | 3 | 3 | 3 | |
| Grounding Switch (EK6/JN15-12) | ||||||
| Surge arrester HY5WZ-17/45 | 3 | 3 | 3 | |||
| use | Voltage measurement surge arrester | Voltage measurement surge arrester | Voltage measurement surge arrester | Voltage Measurement (Left link) | Voltage Measurement (Right Link) | |
| Scheme number | 021 | 022 | 023 | 024 | 025 | |
Primary route diagram |
| |||||
| Rated current (A). | 630-4000 | |||||
One times host want electricity utensil Yuan item | Vacuum circuit breaker | |||||
| Current transformer LZZBJ9-12 | 2 | 2 | 3 | 3 | 2 | |
| Voltage transformer RZL/REL | 2/ | 2/ | 2/ | 2/ | /3 | |
| High Pressure Breaker (XRNP □) | 3 | 3 | 3 | 3 | 3 | |
| Grounding Switch (EK6/JN15-12) | ||||||
| Surge arrester HY5WZ-17/45 | ||||||
| use | Measurement right couplet | Measurement left couplet | Measurement left couplet | Measurement right couplet | Measurement left couplet | |
| Scheme number | 026 | 027 | 028 | 029 | 030 | |
Primary route diagram |
| |||||
| Rated current (A). | 630-4000 | |||||
One times host want electricity utensil Yuan item | Vacuum circuit breaker | 1 | ||||
| Current transformer LZZBJ9-12 | 3 | Capacitor Bm12.7-16-1 3 | ||||
| Voltage transformer RZL/REL | /3 | रूपान्तरणकर्ता 1 | /4 | /4 | ||
| High Pressure Breaker (XRNP □) | 3 | 3 | (XRNT)3 | 3 | 3 | |
| Grounding Switch (EK6/JN15-12) | 1 | 1 | 1 | |||
| Surge arrester HY5WZ-17/45 | 3 | 3 | 3 | |||
| use | Incoming metering | ट्रान्सफर्मर क्याबिनेट प्रयोग गरिएको (क्याबिनेट चौडाई प्रयोग गरिएको चल आकारको आकार अनुसार निर्धारण गरिन्छ) | Capacitor cabinets | Voltage measurement surge arrester | Voltage measurement surge arrester | |

◆A handcart ह्यान्डकार्ट कंकाल CNC मेशिन उपकरणहरू द्वारा प्रशोधन गरिएको पातलो स्टिल प्लेटबाट बनेको हो र त्यसपछि रिभेड र वेल्डेड। अनुप्रयोगका अनुसार, ह्यान्डकार्टलाई सर्किट ब्रेकर ह्यान्डकार्ट, भोल्टेज ट्रान्सफार्मर ह्यान्डकार्टमा विभाजन गर्न सकिन्छ, मिटर ह्यान्डकार्ट र समान विशिष्टताको अन्य ह्यान्डकार्टहरू, जुन विनिमयको लागि सुविधाजनक छन्। ह्यान्डकार्टको एक्लोपन स्थिति, एक परीक्षण स्थिति र मन्त्रिपरिषद्मा कार्य स्थिति छ, र प्रत्येक स्थिति एक स्थिति उपकरणले सुसज्जित छ कि ह्यान्डकार्टलाई आकस्मिक रूपमा सार्न सकिँदैन जब यो माथिको हुन्छ भनेर सुनिश्चित गर्न सकिन्छ। स्थिति, र इन्टरलक जारी गर्नुपर्दछ जब ह्यान्डकार्ट सारिन्छ। |
|
◆B busbar बस एक स्विच क्याबिनेटबाट अर्कोमा शाखा बस र एक स्थिर सम्पर्क ट्रे मार्फत अगाडि बढ्छ। फ्ल्याट शाखा बस स्थिर सम्पर्क ट्रे र मुख्य बसमा बोल्ड गरिएको छ, कुनै थप क्ल्याम्प वा ब्रेकआउट जडानहरूको आवश्यकता बिना। जब प्रयोगकर्ता र परियोजनाको विशेष आवश्यकताहरू छन्, बसबारमा जोड्ने बोल्टहरू इन्सुलेशन र अन्त्य क्याप्सको साथ इन्सुलेट गर्न सकिन्छ। जब बसबार स्विचगेयर विभाजन पार गर्दछ, यो एक बसबार स्लीभको साथ निश्चित हुन्छ। यदि त्यहाँ एक आन्तरिक गल्ती चाप छ, यसले दुर्घटनाको प्रसार नजिकैको मन्त्रिपरिषद्मा सीमित गर्न सक्छ र बसबारको मेकानिकल शक्ति सुनिश्चित गर्न सक्छ। |
|
◆C cable room हालको ट्रान्सफार्मरहरू, ग्राउन्डिंग स्विचहरू, बिजुली अरेटरहरू र केबलहरू केबल कोठामा स्थापना गर्न सकिन्छ, र हटाउन योग्य एल्युमिनियम प्लेटहरू स्लिट्सको साथ केबल कोठाको तलमा साइटमा निर्माणको सुविधा सुनिश्चित गर्न तयार हुन्छन्। |
|
◆D Relay instrument room रिले इन्स्ट्रुमेन्ट कोठा विभिन्न रिले, उपकरणहरू, संकेत संकेतहरू, अपरेसन स्विचहरू र अन्य कम्पोनेन्टहरू स्थापना गर्न प्रयोग गरिन्छ। थप रूपमा, एउटा सानो बसबार कोठा प्रयोगकर्ता आवश्यकता अनुसार उपकरण कोठाको शीर्षमा थप्न सकिन्छ, र सोह्र-मार्ग नियन्त्रण बस राख्न सकिन्छ। |
|
◆Lock structure मध्य ढोका र मन्त्रिपरिषद् बीचको सम्बन्धले लक संरचना अपनाउँछ, र मध्य ढोकालाई बढी सुविधाजनक बनाउन एक लिफ्टिंग संयन्त्रले सुसज्जित छ, र जब मध्य ढोका बन्द हुन्छ, यस र मन्त्रिपरिषद् बीचको जडान शक्ति राम्रो छ, जसले आन्तरिक चाप दहन गल्ती प्रभावकारी रूपमा प्रतिरोध गर्ने क्षमता बढाउँछ। |
|
◆D रिले इन्स्ट्रुमेन्ट कोठा इन्स्ट्रुमेन्ट कोठा ढोका बन्द छ, र इन्स्ट्रुमेन्ट कोठा अगाडि दृश्यमा छ। | ◆Pressure relief device जब सर्किट ब्रेकर वा मुख्य बसबार, केबल कोठाको आन्तरिक गल्ती चाप हुन्छ, बिजुलीको उपस्थितिको साथ, स्विचजियर भित्र हावाको दबाव बढ्छ, र निश्चित दबावमा पुगेपछि, शीर्ष उपकरणको दबाब रिलीज मेटल प्लेट स्वचालित रूपमा प्रेशर र डिस्चार्ज ग्यास जारी गर्न खोलिनेछ अपरेटर र स्विचगेयर। |
